本文源自:金融界
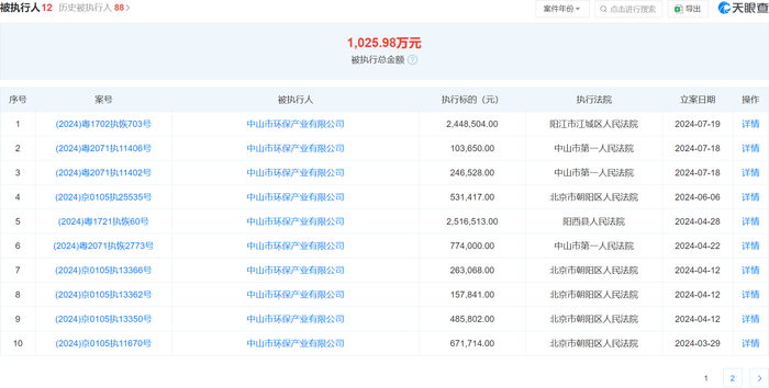
据天眼查法律诉讼信息显示,2024年7月19日,中山市环保产业有限公司被阳江市江城区人民法院列为被执行人【案号:(2024)粤1702执恢703号】,执行标的2448504元。

另据天眼查统计,2024年1月以来,中山市环保产业有限公司约10余次成为被执行人,案件遍及广东、北京、河南等地。
所谓被执行人,是指在法定的上诉期满后,或终审判决作出后,拒不履行法院判决或仲裁裁决的当事人。根据《民事诉讼法》第二百四十九条,被执行人未按执行通知履行法律文书确定的义务,人民法院有权向有关单位查询被执行人的存款、债券、股票、基金份额等财产情况。
所谓执行标的,是指案件中需要执行的金额。这个数字包括了被执行人需要支付给申请执行人的本金、利息以及可能存在的迟延履行金等款项。
公开资料显示,中山市环保产业成立于1987年,位于中山市,是一家以从事生态保护和环境治理业为主的企业。企业注册资本22134.472万人民币,法定代表人为段英俊,任职企业8家。


